02月10日 16:17新浪游戏
近期,小米创始人雷军继续加码游戏业务,以个人身份投资北京迦游网络,认缴金额为8.9947万元,持有股份5.84%。
根据天眼查显示,2020年1月6日,迦游网络方面已经完成了股东变更资料登记,入股之后雷军也将成为迦游网络五大股东之一。从持股比例来看,迦游网络当前最大股东为景德镇多多迦游企业管理咨询中心,持股数为69.12%。


数据源自天眼查
通过官网资料介绍,迦游网络成立于2018年10月,是一家以手游为核心的研发及发行厂商。产品内容涵盖武侠、魔幻、历史、神话、玄幻、休闲等多个题材。但从官网首页展示的主要产品来看,该公司主要运营为H5游戏,代表产品包括《最强王者》、《嫡女心计》、《热血合击》。
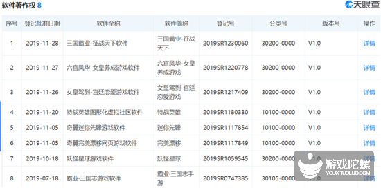
截图源自迦游网络官网根据软著方面信息,2019年下半年迦游网络完成了多款游戏的登记信息,大部分产品登记集中在11月份左右,以后宫养成类、三国等题材为主。
数据源自天眼查而从相关招聘信息来看,迦游网络近期主要招聘岗位均为买量投放相关,并以视频广告素材制作为主。自2018年以来,游戏买量视频投放素材的占比持续上涨,游戏行业对视频制作人才的诉求也在不断攀升,拥有优秀视频素材创作团队也逐渐成为了投资人看重的要素之一。

另外,迦游网络旗下还拥有7k7k.com等线上游戏平台。而根据天眼查上披露的工商消息,2016年6月至2019年10月期间,7k7k平台上提供的游戏“恋上K歌”,因未取得国家新闻出版行政部门审批的情况下擅自运营被罚款1万元。
来源:游戏陀螺