05月30日 15:20新浪游戏

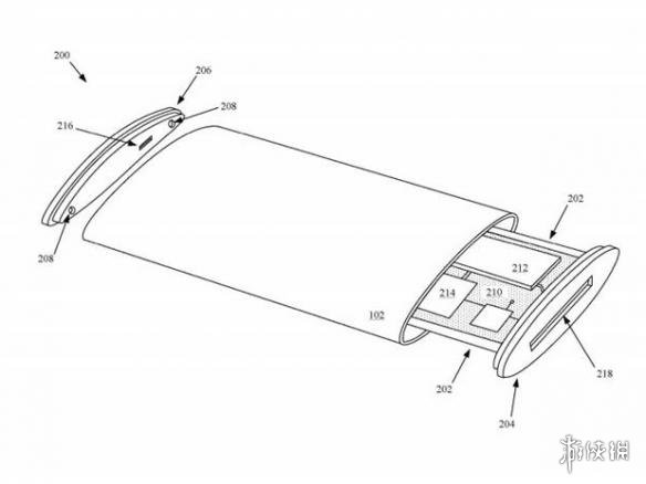
美国专利商标局于当地时间星期二公布了两项非常有意思的专利,一项是2016年申请,苹果将借助其透明外壳来实现交互,采用两个用户界面——一个将被用于该透明外壳的中心部分,另一个则被用于外壳的周边区域。通俗点讲说就是,苹果想要取消iPhone上的所有实体按钮。

另一项专利显示最早是2015年申请,苹果正在准备一种仍然带有边框的类似iPad的产品,但它可以让用户通过点击边框来控制屏幕上的功能。当面板的某一部分处于活动状态时,屏幕就会发出信号,你可以把它看作是环绕式触控屏。

过去苹果曾探索过相似的概念设计,但许多技术都没有真正转化成产品。苹果申请了大量专利,但只有少量专利转化成了产品。
另有一个传言苹果将在“T288”手机中采用更先进的显示屏。这款手机支持增强/虚拟现实技术,通过Siri语音助手、头部动作和触摸进行控制,最早可能2020年推出。果粉们倒是可以期待一下。