07月04日 10:44新浪游戏
雅达利——这一曾经象征着游戏行业巅峰领袖地位的名字,已经彻底沦为了一张人尽可贴的狗皮膏药。当6月份这家公司又蹦出来高喊:“我们又要做硬件主机了!”的时候,没有人期待,甚至没有些许质疑的声音。

雅达利新主机宣传片给人一种“崭新的复古风”的感觉
看看现如今雅达利的产品,可以说连“手游大厂”都算不上。
回首雅达利的几十年历史,从街机到家用机,从硬件到软件,从业界霸主到借壳还魂,离不开的除了产品,还有几次关键性的事件。这些事件无一例外都走向了同一个地点:
法院。
说起MAGNAVOX,绝大多数玩家都对这个公司非常陌生。如果实在不知道,可以先看下我之前写的另外一篇文章《三十多年前 打游戏要先让电脑听磁带》,了解一下它在游戏史中奇特的贡献和奇葩的操作。
让我们先回到1972年。1972年5月,拉尔夫•贝尔携手 MAGNAVOX公司,在一次展会上正式公布了世界上第一台家用游戏机:MAGNAVOX奥德赛,在现场展示了实机并开放试玩。这次出展让奥德赛名声鹊起,更是让它在9月份正式发售前,获得了来自全国各处超过5万台订单。
为了宣传奥德赛,MAGNAVOX特意为这次售前发布会邀请了诸多美国电子科技行业的名人。结果自然是成功的,奥德赛获得了行业的关注,更是促进了电子游戏行业在美国的飞速发展。但其中一位嘉宾之后的所作所为,却完全出乎MAGNAVOX和拉尔夫•贝尔的意料。这个人就是雅达利的创始人:诺兰•布什内尔。

《乒乓》和《网球》真的很像,雅达利没得洗
诺兰想要制作电子游戏由来已久。1966年,他在犹他大学见到了世界上第一款在电脑上运行的电子游戏《SpaceWar》之后,便预见了投币式街机的巨大潜力。在试运行了首个街机游戏《computer space》后,他成立了自己的公司syzygy engineered,打算制作一款赛车类游戏。然而1972年5月26日,诺兰受邀参加了MAGNAVOX的奥德赛发布会,彻底改变了他的想法。
发布会归来,诺兰要求自己的设计工程师奥尔康快马加鞭,按照奥德赛《网球》的模式仿制一款街机游戏。短短几个月之间,诺兰拉到了贷款、谈好街机商用合作、成立了雅达利公司、申请了专利,完成量产并推出了公司第一款街机游戏《乒乓》。游戏史上,《乒乓》是第一个大获成功的街机游戏。而雅达利公司也凭借它的成功,顺利扩展了自己的街机业务线,并成功延伸到了家用游戏机领域,那就是之后的ATARI2600。

街机《乒乓》推出的时候,雅达利之后沿用几十年,创意源于富士山的logo还没使用
MAGNAVOX显然不能容忍雅达利光明正大的抄袭行为。1975年,雅达利被MAGNAVOX告上法庭,称其街机游戏《乒乓》抄袭奥德赛的《网球》。涉及到专利纠纷,这一案件所需的总花费在150万美元左右,而此时正专心研发主机和游戏,缺乏资金的雅达利显然无法支撑庞大的辩护成本和赔偿金额。由于自知理亏,雅达利最终选择和MAGNAVOX庭外和解:双方达成协议,雅达利付费70万美元购买《网球》改编授权,同时MAGNAVOX获得未来一年以内雅达利新发售游戏的所有权。为尽可能降低损失,雅达利把正处于制作期的游戏发布日全部拖后,一整年都没有新的游戏被推上市场。

虽然《乒乓》侵权,但为雅达利捧得第一桶金
在这休养生息的1976年,雅达利确立了未来30年一直使用的,创意来源于富士山的公司logo,将其注册为雅达利公司的商标。虽然没有拿出新游戏,但1976年雅达利依然售出了超过100万套游戏设备。如此出色的成绩为它之后发展电视游戏主机ATARI2600,打好了坚实的经济基础。
1977年,雅达利2600正式发售。在先后击败了仙童F、奥德赛等竞争对手后,雅达利以一统天下的姿态征服了北美家用机市场,1982年销量突破了1000万台,几乎绝大部分的游戏市场份额都控制在雅达利手中,是毫无疑问的业界霸主。

谈游戏史绕不过去的一台主机:ATARI2600
游戏机垄断市场,可替换的游戏卡带也是雅达利自己开发和生产,所有利润都流入这一家公司,让越来越多人看着眼红,急在心里。他们想出了一个办法:干脆自己生产能在雅达利2600上运行的游戏, 在游戏专卖店进行销售。而萌发这一想法的投机者,竟然来自雅达利公司内部。
这一期间,雅达利被华纳集团收购,创始人布什内尔却因为高层纠纷离开了这家一手建立起来的公司。此时,雅达利的财政状况已经十分出色,但新上任的高层否定了布什内尔在任期间,向中层和程序员承诺的利润分成和奖金等员工激励政策。高层用上一年出色的流水试图向这些人证明,无论是什么人做出怎样的游戏,都能在雅达利2600上卖得很好。
一些员工最终选择离开雅达利,其中大卫•克雷恩、拉里•卡普兰、阿兰•米勒和鲍勃•怀特海德四人决定放开手脚,成立游戏公司独立开发和发行游戏,向雅达利的垄断和独裁政权发起反抗。1979年,他们成立了自己的公司Activision,开始为雅达利2600开发游戏史上第一批第三方游戏。

动视的雅达利游戏封面,色彩使用的非常大胆
把正处于黄金期的核心员工赶出家门,雅达利很快发现了自己的错误。当动视竖起反抗大旗,进军第三方游戏市场时,雅达利被迫做出了和MAGNAVOX相同的策略:向法院指控Activision,指责动视侵犯了雅达利的版权和专利。
然而当时的北美游戏业,已经几乎被雅达利垄断。19世纪末期,因为行业垄断的存在,一些国家政府已经试图用立法等手段干预这种现象和行为,而雅达利这次起诉动视,反而是自己撞上了枪口。1982年,雅达利意外败诉,动视开发和销售雅达利2600第三方游戏的行为并不构成侵权。这一宣判不仅让动视可以自由开发和售卖游戏,更是给了全球投机者们释放了一个信号:
所有人都可以绕过雅达利管控,自由生产和销售雅达利2600的游戏。
一时间,资本疯狂涌入游戏业,无论有没有能力、经验,是程序员都去给雅达利2600机开发游戏。在没有成熟的媒体宣传、评测以及口碑传播的80年代初期,相当部分玩家只能依靠卡带封面选择自己想要的游戏,游戏口味和质量完全是靠撞大运。而第三方市场的全面开放,让无数垃圾游戏堂而皇之地登上了货架。
1983年,雅达利2600的游戏出货量暴涨,但有限的市场份额使得这些游戏必须调低售价才能出售。已经饱和的市场遇到劣质游戏倾销形成了一个死循环,把北美游戏市场所有的开发商、零售商都拖进了这个无法逃离的漩涡。大量已经被生产出来的游戏被积压无法售出,玩家也因低劣的质量选择暂缓购入游戏,资金链无法盘活的众多游戏企业很快便支撑不下去,雅达利自身也因《吃豆人》和《ET外星人》两款游戏的策略失败遭遇了巨大冲击。1983年的这一事件,被称为“北美游戏市场大崩溃”。

ET只是雅达利大厦崩塌的一个缩影,背后真正的原因是第三方市场彻底失控
1983年是雅达利的转折点。在大崩溃发生后,之后北美游戏业收入下降了超过90%,华纳集团的股价蒸发了50%以上。当年9月28日,纽约时报曝光了雅达利在垃圾填埋场倾倒和掩埋游戏卡带的事件;10月开始,一大批公司高层接连辞职逃离这家公司。1984年底-1985年初这一阶段,雅达利被华纳拆分出售,结束了这段曾经辉煌却又短暂的历史。
雅达利崩盘前,任天堂曾作为第三方厂商,获得了开发雅达利2600和5200游戏机的游戏开发权。《马里奥兄弟》原本登录雅达利平台,但最后到来的北美游戏大崩溃事件,不仅让全球游戏中心转移到了日本,还彻底让任天堂放弃了雅达利,一心投入到自己的游戏机FC上。

任天堂也曾经是第三方
但雅达利第三方失控还历历在目,这使任天堂为FC设立了更高的版权保护芯片:10NES。当卡带插入主机时,同时存在于两方的10NES芯片会互相交换数据,完成检验后才能解锁进行游戏。
而此时的雅达利已经和任天堂调转身份,成为了任天堂FC的授权开发商。华纳分割出售雅达利时,把雅达利游戏部门暂时留在集团内,在放弃硬件研发后,这一部门转而给其他平台开发游戏。但出任天堂意料的是,雅达利在经历了维权失败后,反而尝试起走法律漏洞,开始偷偷破解任天堂版权保护芯片。

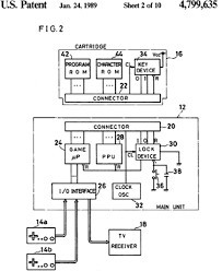
10NES
雅达利先是把直接把10NES芯片暴力拆解,观察内部走线结构,之后发现这对破解几乎没什么帮助,于是又安排公司内的程序员进行逆向工程,可这条路也走不通。为了获利,雅达利安排律师,以提起诉讼为名从版权局骗得了10NES的源代码副本文件。
1988年,雅达利成功复制了10NES芯片,绕过任天堂开始生产和销售未经授权的盗版卡带。任天堂对这一合作伙伴的背叛行为大吃一惊,连忙向美国联邦法院起诉,要求雅达利停止侵权并进行赔偿。

雅达利破解后的盗版卡带统一使用TENGEN的品牌
任天堂起诉后,雅达利利用其在美国的影响力,争取了更多媒体发声机会,把任天堂塑造成一个游戏行业的垄断者,并大肆宣扬自己破解行为的正当性。可是这和之前雅达利败诉时不同,任天堂当时在美国已经申请并获得了10NES的专利,因此诉讼主要围绕在雅达利自研芯片是否侵犯了这一专利。
随着调查的进行,法院发现雅达利盗版芯片内不仅包含绕过检测的功能,还有与10NES相同的非必要代码,法院认定这结构属于10NES的表现元素,受法律保护;而另一方面,这个盗版芯片和版权局泄露的副本相同,却实际落后于任天堂当时流通于市场的新版本芯片,更加坐实了雅达利违法侵权的事实。
其实绕过10NES芯片的检测还有其他很多种办法,例如破坏主机芯片焊脚、外置通用款10NES都可以让游戏机运行盗版卡带。但雅达利这种通过逆向工程破解复制的行为,完全与其曾经游戏界霸主的形象相悖。证据确凿,但雅达利一方在法庭滥用抗辩,并反诉任天堂垄断市场,不停拖延审判时间。一审败诉后,雅达利依旧表示不服,直到任天堂申请强制执行才终结这一侵权案。法院宣判时,已经是1992年。

右侧key和LOCK分别对应卡带和主机中的10NES芯片
幸运的是,1988年参战北美市场的世嘉Genesis,让任天堂勉强洗脱了垄断市场嫌疑。而雅达利这又一次败诉,为游戏市场的规范化,又做出了一次的贡献。
经常有人会想:如果大崩溃没有发生,1983年后游戏行业的主导权是否还留在北美?雅达利作为游戏行业的领头大哥,是否会走出另外一条完全不同的科技树?

但与其那些不合实际的幻想,还不如仔细思考一下:我们该如何评价游戏史中的雅达利?