08月27日 09:47新浪游戏
据外媒报道,微软最新曝光的专利显示,微软将利用新技术为电子设备减低屏幕边框。
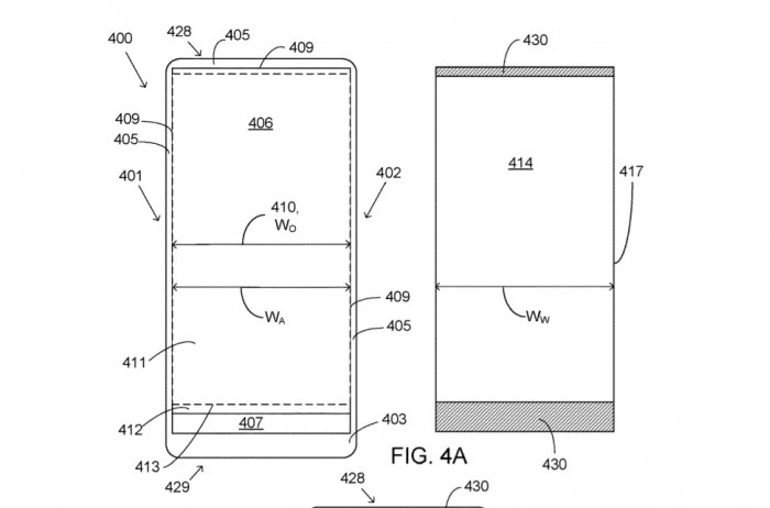
微软正在开发Andromeda双屏可折叠设备早已不是什么秘闻,且在之前的曝光中微软获得了多项关于新设备的技术专利。近日外媒再次发现微软获批“电子设备摆脱死亡区边框(dead border)”的新专利,详细介绍了减少设备边框的多种方式。这项专利于2016年提交申请,并于8月21日获得批准,主要为电子设备(移动和平板)减少屏幕边框。

微软在专利背景中写道:“目前大部分电子设备(例如便携式和移动设备)所使用的屏幕模组都有明显的死亡区边框,也就是设备机身正面的外边框到屏幕外边框的这部分空间。死亡区边框的尺寸由屏幕模组决定。”
微软在专利描述中写道:“解决这个边框的方式之一就是让电子设备具备两个或者更多相反的边。电子设备在展开之后能构成一定长度和宽度的显示模组,而显示模组上窗口以及设备中框至少会有部分围绕着这个显示模组。这个中框可以让电子设备形成两个或以上相反的边,在电子设备顶部屏幕上形成上移和下移的边区域,从而延伸电子设备的外部边框。”